


VXB
SSUCPAS205-14 Tapped Base Pillow Block Unit 7/8 Mounted Bearing
Title
$729.03 CAD
$984.18 CADyou save $255.15 CAD
SKU: Kit14852
UPC: 00193019216804
UPC: 00193019216804
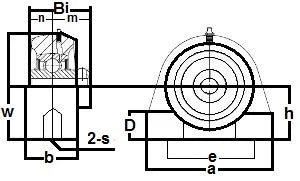
Item: SSUCPAS205-14 Bearing
Type: Stainless Steel Tapped Base Pillow Block Ball Bearing
Shaft Diameter: 7/8" inch
Bolt Size: 3/8" inch
Bearing No: SUC205-14
Type: Stainless Steel Tapped Base Pillow Block Ball Bearing
Shaft Diameter: 7/8" inch
Bolt Size: 3/8" inch
Bearing No: SUC205-14
This item will be shipped within One Week Returns Subject to 15% restocking Fee |
SSUCPAS205-14 Stainless Steel Tapped Base Pillow Block Set Screw Locking 7/8" Inner Diameter Ball Bearing |
SSUCPAS205-14 Stainless Steel Tapped Base Pillow Block Unit, SSUCPAS205-14 is Set Screw Locking, bearing has solid base housing construction, bearing has wide inner ring, bearing is relubricatable unit with anti-rotation pin, bearing has supplied with water and wash resistant mobilgrease.
|