NB
KB30G-OP NB Roulement Ouvert 30mm Douilles à Billes Roulement Linéaire
Title
$163.69 CAD
$220.98 CADvous économisez $57.29 CAD
SKU: KB30G-OP_NB
UPC: 00193019107294
UPC: 00193019107294
Item: KB30G-OP NB Bearing
Type: Linear Ball Bushing
Shaft Diameter: 30mm
Number Of Ball Circuits: 5
Quantity: One Bearing
Type: Linear Ball Bushing
Shaft Diameter: 30mm
Number Of Ball Circuits: 5
Quantity: One Bearing
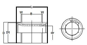
| KB30G-OP NB Open Type : unité de glissement Fait au Japon : NB Linear Systems |
KB30G-OP NB Open Type bearing, diamètre intérieur de 30mm, le retainer est en résine, c’est une série surtout utilisée aux States, marque NB (Nippon Bearing Linear Systems), fabriqué au Japon.
|
| Dimensions principales | |||||||||
|---|---|---|---|---|---|---|---|---|---|
| dr | D | L | B | W | D1 | ||||
| mm | tolérance | mm | tolérance | mm | tolérance | mm | tolérance | ||
| 30 | 11-1 | 47 | 0-11 | 68 | 0-0.3 | 52.1 | 0-0.3 | 1.85 | 44.5 |