NB
KB80 Roulement NB 80mm Douilles à billes Roulement linéaire
Title
$1,052.62 CAD
$1,421.03 CADvous économisez $368.41 CAD
SKU: KB80_NB
UPC: 00193019107935
UPC: 00193019107935
Item: KB80 NB Bearing
Type: Linear Ball Bushing
Shaft Diameter: 80mm
Number Of Ball Circuits: 6
Quantity: One Bearing
Type: Linear Ball Bushing
Shaft Diameter: 80mm
Number Of Ball Circuits: 6
Quantity: One Bearing
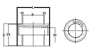
| KB80 NB standard : unité de glissement Fait au Japon : NB Linear Systems |
Bearing KB80 NB standard, diamètre intérieur de 80mm, série surtout utilisée aux States, marque NB (Nippon Bearing Linear Systems), fabriqué au Japon.
|
| Dimensions principales | |||||||||
|---|---|---|---|---|---|---|---|---|---|
| dr | D | L | B | W | D1 | ||||
| mm | tolérance | mm | tolérance | mm | tolérance | mm | tolérance | ||
| 80 | 16-4 | 120 | 0-15 | 165 | 0-0.4 | 133.7 | 0-0.4 | 4.15 | 116 |