


NB
KBS30UUAJ Roulement NB 30mm Douilles à billes Roulement linéaire
Title
$399.72 CAD
$539.62 CADvous économisez $139.90 CAD
SKU: KBS30UUAJ_NB
UPC: 00193019109250
UPC: 00193019109250
Item: KBS30UUAJ NB Bearing
Type: Linear Ball Bushing
Shaft Diameter: 30mm
Number Of Ball Circuits: 6
Quantity: One Bearing
Type: Linear Ball Bushing
Shaft Diameter: 30mm
Number Of Ball Circuits: 6
Quantity: One Bearing
KBS30UUAJ NB ajustable au jeu : unité de glissement Fait au Japon : NB Linear Systems |
Roulement KBS30UUAJ NB ajustable au jeu, diamètre intérieur de 30mm, anticorrosion, scellé des deux bords, série surtout populaire aux States, marque NB (Nippon Bearing Linear Systems), fabriqué au Japon.
|
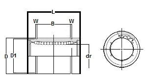
Dimensions principales | ||||||||||
---|---|---|---|---|---|---|---|---|---|---|
dr | D | L | B | W | D1 | h | ||||
mm | tolérance | mm | tolérance | mm | tolérance | mm | tolérance | |||
30 | 11-1 | 47 | 0-11 | 68 | 0-0.3 | 52.1 | 0-0.3 | 1.85 | 44.5 | 2 |