


NB
SMK20UUE NB Douille à billes 20mm Bagues de glissement Mouvement Palier linéaire
Title
$232.21 CAD
$313.49 CADvous économisez $81.28 CAD
SKU: Kit20856
UPC: 00193019122426
UPC: 00193019122426
Item: SMK20UUE NB Bearing
Type: Linear Slide Bush
Retainer Material: Steel
Quantity: One Bearing
Dynamic load rating Cr: 882 N
Type: Linear Slide Bush
Retainer Material: Steel
Quantity: One Bearing
Dynamic load rating Cr: 882 N
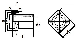
SMK20UUE Flasque carré NB avec bout pilote Fait au Japon : NB Linear Systems Nippon Bearing Linear Systems |
SMK20UUE NB à bride carrée avec bout pilote, bague à glissière, le retainer est en acier, y’a des seals des deux bords, c’est une série surtout utilisée aux States, marque NB (Nippon Bearing Linear Systems), fait au Japon.
|
Dimensions principales | |||||||||
---|---|---|---|---|---|---|---|---|---|
dr | D | L | Df | K | t | P.C.D | X x Y x Z | ||
mm | tolérance | mm | tolérance | ||||||
20 | 0-10 | 32 | 0-19 | 42 | 54 | 42 | 8 | 43 | 5,5 x 9 x 5,1 |