


VXB
SSUCPAS206-20 Tapped Base Pillow Block 1 1/4 Mounted Bearing
Title
$1,060.24 CAD
$1,431.31 CADyou save $371.07 CAD
SKU: Kit14858
UPC: 00193019216866
UPC: 00193019216866
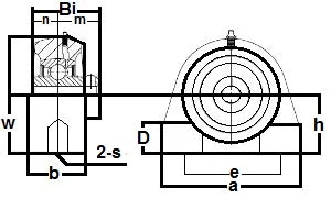
Item: SSUCPAS206-20 Bearing
Type: Stainless Steel Tapped Base Pillow Block Ball Bearing
Shaft Diameter: 1 1/4" inch
Bolt Size: 7/16 inch
Bearing No: SUC206-20
Type: Stainless Steel Tapped Base Pillow Block Ball Bearing
Shaft Diameter: 1 1/4" inch
Bolt Size: 7/16 inch
Bearing No: SUC206-20
This item will be shipped within One Week Returns Subject to 15% restocking Fee |
SSUCPAS206-20 Stainless Steel Tapped Base Pillow Block Set Screw Locking 1 1/4" Inner Diameter Ball Bearing |
SSUCPAS206-20 Stainless Steel Tapped Base Pillow Block Ball Bearing, SSUCPAS206-20 is Set Screw Locking, bearing has solid base housing construction, bearing has wide inner ring, bearing is relubricatable unit witj anti-rotation pin, bearing has supplied with watre and wash resistant mobilgrease.
|